Product Summary
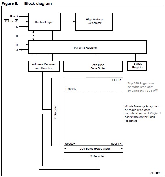
The M25PE80-VMW6TG is designed as one kind of 8 Mbit, low voltage, page-erasable serial flash memory device that can be written or programmed 1 to 256 Bytes at a time, using the Page Write or Page Program instruction. And this device can be erased a page at a time, using the Page Erase instruction, a sector at a time, using the Sector Erase instruction, or as a whole, using the Bulk Erase instruction.
Parametrics
Absolute maximum ratings of the M25PE80-VMW6TG can be summarized as:(1)Storage Temperature: -65 to 150 °C;(2)Lead Temperature during Soldering: - SEE1 °C;(3)Input and Output Voltage (with respect to Ground): -0.6 to 4.0 V;(4)Supply Voltage: -0.6 to 4.0 V;(5)Electrostatic Discharge Voltage (Human Body model): -2000 to 2000 V.
Features
Features:(1)Industrial Standard SPI Pin-out; (2)8 Mbits of Page-Erasable Flash Memory; (3)Page Write (up to 256 Bytes) in 11ms (typical); (4)Page Program (up to 256 Bytes) in 1.2ms (typical); (5)Page Erase (256 Bytes) in 10ms (typical); (6)Sector Erase (512 Kbits); (7)Bulk Erase (8 Mbits); (8)2.7 to 3.6V Single Supply Voltage; (9)SPI Bus Compatible Serial Interface; (10)50MHz Clock Rate (maximum); (11)Deep Power-down Mode 1μA (typical); (12)Electronic Signature – JEDEC Standard Two-Byte Signature; (13)(8014h); (14)More than 100,000 Write Cycles; (15)More than 20 Year Data Retention; (16)Hardware Write Protection of the Top Sector (64KB); (17)Software Write Protection on a 64KByte Sector Basis; (18)Software Write Protection on a 4KByte Subsector Basis for Sector 0 and Sector 15.
Diagrams

| Image | Part No | Mfg | Description | ![]() |
Pricing (USD) |
Quantity | ||||||||||||
|---|---|---|---|---|---|---|---|---|---|---|---|---|---|---|---|---|---|---|
![]() |
![]() M25PE80-VMW6TG |
![]() STMicroelectronics |
![]() Flash SERIAL PAGE ERASE FLASH 8 Mbit Datas |
![]() Data Sheet |
![]() Negotiable |
|
||||||||||||
| Image | Part No | Mfg | Description | ![]() |
Pricing (USD) |
Quantity | ||||||||||||
![]() |
![]() M25P01K9FC |
![]() JAE Electronics |
![]() Automotive Connectors Pin Contact MX25 |
![]() Data Sheet |
![]()
|
|
||||||||||||
![]() |
![]() M25P05 |
![]() Other |
![]() |
![]() Data Sheet |
![]() Negotiable |
|
||||||||||||
![]() |
![]() M25P05-A |
![]() Other |
![]() |
![]() Data Sheet |
![]() Negotiable |
|
||||||||||||
![]() |
![]() M25P05-AVDW6TP |
![]() STMicroelectronics |
![]() Flash 512 KB Lo Vltg Serial Flash memory |
![]() Data Sheet |
![]() Negotiable |
|
||||||||||||
![]() |
![]() M25P05-AVMB6TP |
![]() |
![]() IC SRL FLASH 512KBIT 3V 8UFDFPN |
![]() Data Sheet |
![]() Negotiable |
|
||||||||||||
![]() |
![]() M25P05-AVMN6 |
![]() STMicroelectronics |
![]() Flash 3.0V 512K (64Kx8) |
![]() Data Sheet |
![]() Negotiable |
|
||||||||||||
(China (Mainland))







